玉米种子种植器的原理主要围绕播种方式、结构组成及核心部件的工作机制展开,具体如下:
一、播种方式与结构差异条播与穴播
- 条播:
通过开沟器开沟后,利用排种器将种子均匀撒入沟内,侧重播种均匀性。
- 穴播
:在开沟器形成的沟穴中精确投放种子,侧重每穴种子数量的精准性。结构组成共同核心部件包括:
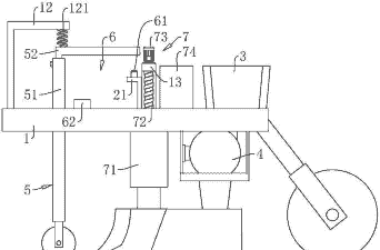
- 地轮:
提供动力源,通过摩擦力驱动播种机行进;
- 播种装置
:包含排种器、分配器等,负责种子输送与分配;- 施肥装置:同步进行肥料施用;
- 覆土装置:播种后覆盖土壤,部分机型配备覆膜装置。

- 种子通过料仓输送至输送管,再经分配器调节种植密度和肥料量,最后由排种器将种子准确投放到沟穴中。
排种器类型
- 条播排种器: 通过齿轮箱驱动排种轮,实现均匀撒播; - 穴播排种器
影响株距的因素
- 种子形状不规则性会导致传统开沟式播种株距不均,而导向投种技术可避免这一问题;
- 调节分配器隔板位置可控制种植密度。

作业效率提升
- 部分机型配备悬挂式结构,与拖拉机配套使用,可大幅提高播种效率。
四、其他技术拓展现代播种机还可能集成病虫害防治、铺地膜等功能,进一步提升综合作业能力。
通过以上原理与技术的综合应用,玉米播种机能够实现高效、精准的播种作业,满足不同种植需求。










